新闻中心
让维修更复杂宝马申请LOGO同款专属螺丝酷乐汽车
就在部分车企致力于简化车辆维修流程、推出便于车主自行调校的设计之际,另一些车企的做法却似乎在悄然背道而驰。
例如,奔驰正计划弃用胶水、改用螺丝固定车灯,以此降低大灯的维修难度;而它的主要竞争对手宝马,却在试验一项独特设计,这一设计很可能会让车主的自助维修变得复杂许多。

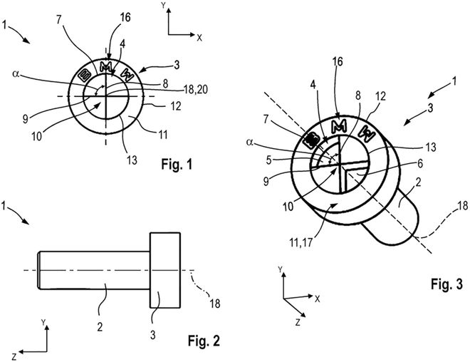
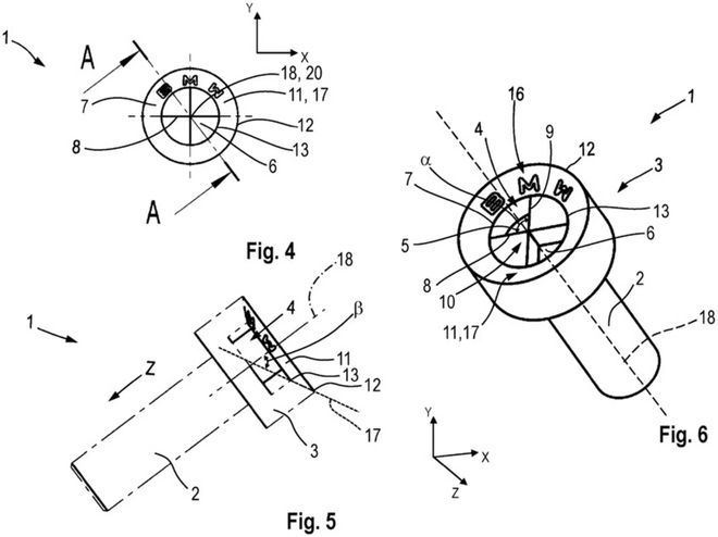
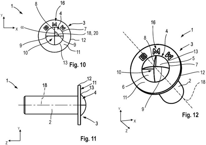
据报道,宝马近期提交了一组专利设计图,其核心是一款仿照品牌自身标志打造的定制螺丝头。宝马似乎有意摒弃传统紧固件,转而采用专属设计的螺丝 —— 螺丝头借鉴了宝马圆形蓝白标的样式,还完整复刻了标志的四等分细节。
这份专利中设计了四种不同的螺丝头样式,包括内凹式、平头式和圆头式等。每一款的造型都与宝马的圆形徽标一样,均分为四个象限。其中两个象限为凹陷设计,剩下的则为平面或凸起样式,这样的特殊构造,显然需要专用的配套工具才能拧动。


单从外观来看,这种印有品牌标识的螺丝头颇具新意,尤其是当它们被用在驾驶舱或发动机舱等显眼位置时。但对于手头只有标准工具箱的维修技师或车主而言,这样的设计就毫无吸引力了。
特殊的螺丝纹路意味着普通工具根本无法咬合,任何人想要拆装关键部件,都得使用宝马专用工具。


不难想象,这种螺丝会给维修厂带来多大的麻烦。普通工具套装完全派不上用场,除非是宝马授权经销商,或是铁杆的宝马车迷,否则维修时很可能会因为少一把专用螺丝刀而束手无策。
不出所料,这一设计理念在网络上遭到了一片反对。大家纷纷吐槽,认为这是给偏爱自助保养的车主又增设了一道门槛。


当然,这类螺丝最终能否量产落地,目前还是个未知数。车企申请的专利数量众多,很多都只是停留在设计草图阶段,从未真正投入应用。此次曝光的这套设计方案于2024年6月7日提交,并在2025年12月11日正式对外公布,但截至目前,它们还只是几张设计图纸而已。

无论宝马的这款专属螺丝最终能否成真,我们都不禁担忧:车企或许会持续推出这类提高车辆维修难度的设计。毕竟,在当下这个电动化与智能化并行的时代,车辆一旦出现故障,车主本就早已高度依赖专业的4S店来维修了。
2025-12-24 12:18:04
浏览次数: 次
返回列表